Waist & Body Tapes
Perfect Waist & Body Tapes: Body Measurements Made Easy
If you’ve ever been to the doctor or taken your child to the doctor, you’ve likely seen a body circumference measurement taken. With infants, it’s usually taken around the head to measure head circumference. In adults, a circumference measurement may be seen as part of a wellness exam or a pre- or post-op visit.
Body circumference measurements are also taken in fitness settings to measure weight loss or muscle gain, usually taken on the chest, neck, waist, arms, and legs.
And of course, we see a lot of body circumference measurements taken in tailoring and textile environments as they are hands-down the most important measurements in achieving accurate fitting for a wide variety of clothing: from dresses, to bespoke men’s suits, to bras.
But before the entrance of the Perfect Waist & Body Tape onto the scene, circumference measurements were nearly impossible to take without the help of someone else. Wrapping and reading a standard tailoring tape around one’s chest, for example, would be nearly impossible for one person to do easily and accurately.
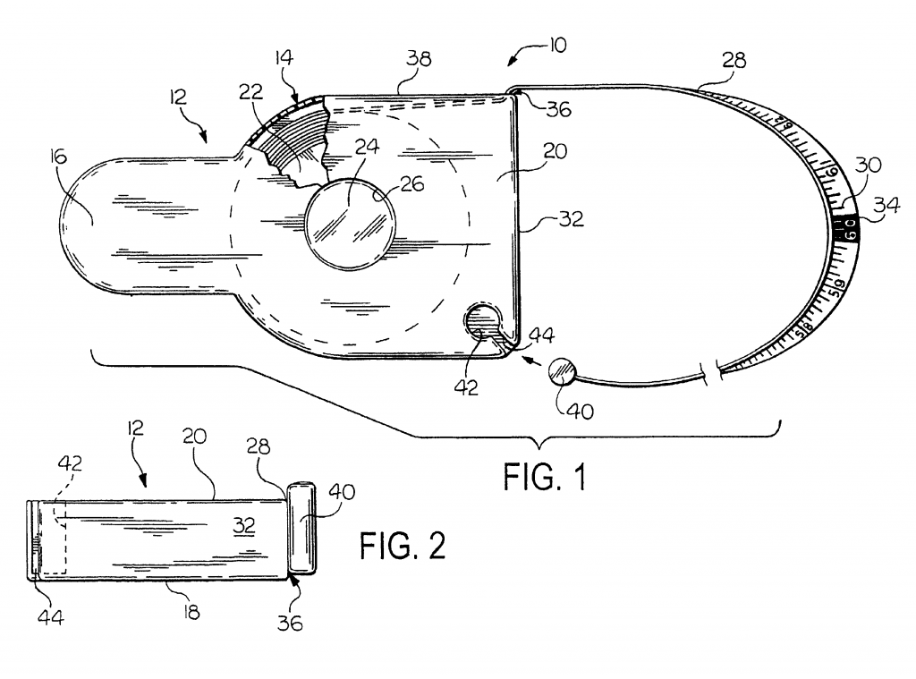
So we took the standard tailor’s tape and housed it in a retractable handle-shaped case with a retract button. We placed a peg at the end of the tape and an insert cavity onto the case. This allowed the user to take their own circumference measurement, simply by wrapping the tape around their body, inserting the peg into the cavity, and then pressing the retract button to tighten the tape. The result was an accurate, repeatable measurement taken without the help of an additional person. Here is a full tutorial on how to use the Perfect Waist and Body Tape.

The Perfect Waist & Body Tape also has an added feature to increase its usefulness: One side of the tape takes circumference measurements, and the other side takes standard measurements. The circumference measurement side of the tape starts at the 1.75” mark to take into account the curved portion of the tape case which rests flush against the body during measurement (the length of which is 1.75”). The standard measurement side of the starts at zero so that standard length measurements (e.g. an inseam or arm length measurement) can be taken with a simple flip of the tape.
Our Perfect Waist & Body tapes are the only circumference measurement tapes to give clear and accurate circumference AND standard measurements. Our unique design color codes each side of the tape to eliminate measurement error occurring from mixing up the standard and circumference sides of the tape.
Another added benefit of the Perfect Waist & Body Tape is its accuracy. Using a traditional tailor’s tape to take circumference measurements entails tightening the tape around the body using a set amount of force. The varying force used to tighten the tape can affect the measurement greatly, and consequently different users can end up with different results since there’s no good way to standardize the force used to wrap and tighten the tape around the body. The Perfect Waist & Body tape retracts with the use of a spring-loaded button, which standardizes the amount of force used to tighten the tape around the body, thereby greatly reducing user error and increasing the repeatability and accuracy of circumference measurements.
Look for our tapes in gyms and medical offices across the country!



Leave a reply